HƯỚNG DẪN SỬ DỤNG PHAO ĐIỆN KÍN NƯỚC CHỐNG CẠN VÀ CHỐNG TRÀN BỂ NƯỚC SIRON SR-FSW-T-3M CÁP 3 MÉT
Tuyển đại lý phân phối Thiết bị điện Siron trên toàn quốc
Tên VAT: Công tắc phao điện kín nước chống cạn và chống tràn Siron Sr-FSW-T-3M
Download Hướng dẫn sử dụng phao điện Siron SR-FSW
MÔ TẢ:
Đây là công tắc phao điện hình tròn, kín nước, có các chức năng chống cạn, chống tràn bể nước.
Thiết bị được kết nối với máy bơm điện thông qua cáp điện, được sử dụng cho bồn nước điều khiển tự động, với chức năng chống cạn và chống tràn.
Công tắc phao điện kín nước Siron được thiết kế dạng phao có tiếp điểm nằm bên trong phao và được hút chân không, chống nước hoàn toàn, dùng để điều khiển bơm cấp đầy cho bồn nước hoặc bơm hút cạn hồ nước cho bơm chìm, với thiết kế dạng công tắc 2 chiều (NO/NC).
Với dạng thiết kế kín nước hoàn toàn nên tiếp điểm của Phao có độ bền cao và rất an toàn cho người sử dụng, không lo hơi nước từ trong bồn nước bốc hơi ra làm hỏng tiếp điểm hoặc khi trời mưa nước thâm vào và làm hư hỏng bất thường như các loại phao thông thường.
PHIẾU KẾT QUẢ THỬ NGHIỆM PHAO ĐIỆN BÁO MỨC CHỐNG CẠN VÀ CHỐNG TRÀN SIRON |
 |
 |
CÔNG DỤNG:
Dùng để ngắt mạch điện máy bơm khi nước đầy bể chứa hoặc nước cạn bể bể hút tự động.
ƯU ĐIỂM:
Tự động ngắt máy bơm nước khi bể đầy hoặc cạn, tự động bật máy bơm nước khi bể vơi nước hoặc đầy nước. Giữa 2 mức nước có thể điều chỉnh được với khoảng cách lớn.
Chống rò điện ra bể nước, chống nước ngấm vào các tiếp điểm phao điện.
Số lần bật tắt máy bơm từ 10,000 lần đến 50,000 lần tùy vào ứng dụng.
NHƯỢC ĐIỂM:
Lắp đặt phao điện đòi hỏi người lắp đặt phải có kiến thức cơ bản về điện, biết phân biệt các pha lửa, nguội.
ỨNG DỤNG:
Lắp cho điều khiển hút cạn bể nước:
Sử dụng cho bể chứa nước ngầm từ nhà máy chảy vào hoặc dùng để ngắt máy bơm tăng áp khi bể đã hết nước.
Sử dụng cho bể chứa nước thải, khi mưa hoặc nước thải đạt đến một ngưỡng nào đó, máy bơm sẽ tự động bật để hút cạn nước đi.
Sử dụng dây màu nâu và dây màu đen:
Khi đầu nước phao sẽ đóng điện cho phép bơm hoạt động.
Khi hết nước phao sẽ ngắt điện - bơm ngưng hoạt động.
Lắp cho điều khiển bơm cấp đầy bể nước:
Sử dụng cho bể chứa trên tầng thượng, khi người sử dụng gần cạn nước, máy bơm sẽ tự động bơm để cấp bù số nước bị thiếu hụt.
Sử dụng dây đen và xanh:
Khi hết nước phao sẽ đóng điện cho bơm hoạt động.
Khi đầy nước phao sẽ ngắt điện - bơm ngưng hoạt động.
THÔNG SỐ KỸ THUẬT:
Điện áp hoạt động: 12VDC ~ 250VAC/50~60Hz.
Dòng điện chịu tải max: 8A-220VAC.
Công suất chịu tải Motor: 2HP hoặc 1500W.
Nhiệt độ tối đa cho phép: 50°C.
Nhiệt độ bảo quản : -10 °C đến +60 °C.
Cấp độ bảo vệ: Kín nước và kín bụi: IP68.
Dây cáp: 2m, 3m, 5m.
HƯỚNG DẪN SỬ DỤNG:
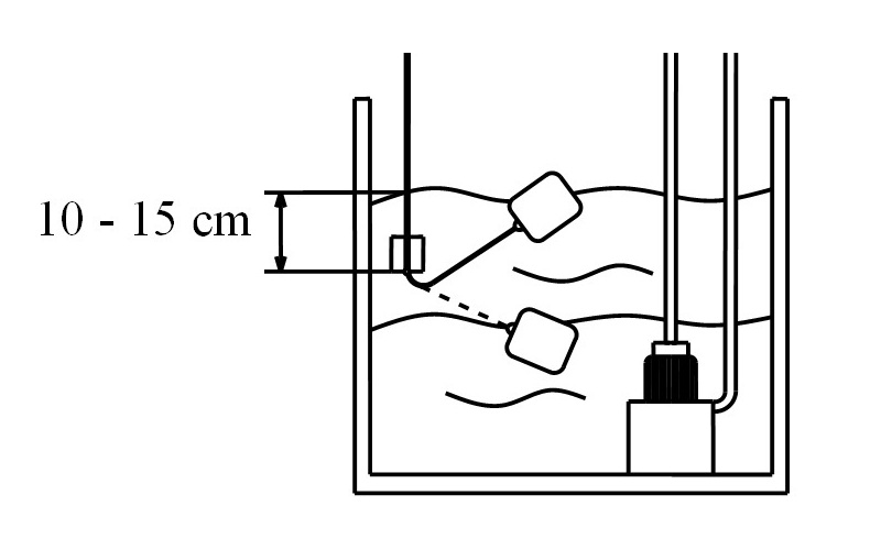
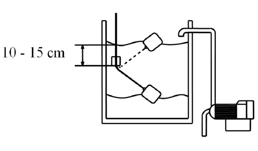
Cách lắp đặt quả cân:
Dùng tua vít tháo rời vòng cung phía trong quả cân. Sau đó gắn vòng cung vừa tháo vào sợi cáp tại vị trí thích hợp muốn cân chỉnh mức nước. Sau đó luồn quả cân vào sợi cáp, quả cân trượt tới chỗ vòng cung và được vòng cung này giữ cố định lại.
Lắp quả cân vào dây phao: Quả cân cách phao 15 đến 20 cm. Thông thường quả cân đặt ở vị trí bằng 1/3 khoảng cách từ mặt nước đầy đến đáy bồn sao cho độ nghiêng của quả phao so với chiều thẳng đứng của dây cáp là 45 độ để công tắc có thể tác động tắt / mở tiếp điểm.
Cố định phao vào thành bể nước, điểm cố định cần đảm bảo trong quá trình sử dụng phao không bị cọ sát vào chỗ sắc cạnh. (Bạn có thể lót thêm vải để dây phao được sử dụng tốt hơn).
Thả phao vào bể nước:
Chức năng chống cạn: Phao điện được thả xuống bể nước sao cho khi trạng cạn nước phao nước chớm vào mức nước đó.
Chức năng chống tràn: Đối với chống tràn thì quả cân bằng với mức nước cần ngắt khi bơm cấp đầy.
Cách đi dây từ máy bơm đến phao:
Kết nối nguồn điện vào phao điện và máy bơm. (Bạn có thể tham khảo các ứng dụng dưới đây để biết được cách đấu nối phao điện). Lưu ý, điểm nối giữa phao điện, máy bơm và nguồn điện cần phải đảm bảo không bị ngập nước, không bị nắng mưa làm ảnh hưởng đến mối nối.
Hướng dẫn sơ đồ đấu:
Dây đen luôn được đấu về phía pha nguội.
Điều khiển máy bơm hút cạn:
 |
 |
| Sơ đồ lắp đặt phao chống tràn bể nước |
Sơ đồ đấu phao có khởi động từ:
Sơ đồ đấu phao điện cho nguồn điện 12VDC hoặc 24VDC:

Điều khiển máy bơm cấp đầy:
 |
 |
| Sơ đồ lắp đặt phao chống cạn bể nước |
Sơ đồ đấu phao có khởi động từ:


Sơ đồ đấu phao điện cho nguồn điện 12VDC hoặc 24VDC:

Hướng dẫn lắp đặt:
Dây đen luôn được đấu về phía pha nguội.
Điều khiển máy bơm hút cạn:
Điều khiển máy bơm cấp đầy:
Lưu ý:
Dây điện nối từ nguồn lên phao điện và từ phao điện xuống máy bơm phải sử dụng loại chịu được nắng mưa ngoài trời và sử dụng ống gen điện để tránh bị chuột hoặc nắng mưa làm hỏng lớp vỏ cách điện của dây dẫn.
Cuống phao cố định cũng cần có ống gen tại nút buộc vào thành bể.