Hướng dẫn sử dụng phao điện nổi chống cạn và chống tràn Siron SR-FSW
HƯỚNG DẪN SỬ DỤNG PHAO ĐIỆN NỔI KÍN NƯỚC CHỐNG CẠN VÀ CHỐNG TRÀN SIRON SR-FSW
Download Hướng dẫn sử dụng phao điện Siron SR-FSW
1. GIỚI THIỆU
Đây là công tắc phao điện hình tròn, kín nước, có các chức năng chống cạn, chống tràn bể nước.
Thiết bị được kết nối với máy bơm điện thông qua cáp điện, được sử dụng cho bồn nước điều khiển tự động, với chức năng chống cạn và chống tràn.
Công tắc phao điện kín nước Siron được thiết kế dạng phao có tiếp điểm nằm bên trong phao và được hút chân không, chống nước hoàn toàn, dùng để điều khiển bơm cấp đầy cho bồn nước hoặc bơm hút cạn hồ nước cho bơm chìm, với thiết kế dạng công tắc 2 chiều (NO/NC).
Với dạng thiết kế kín nước hoàn toàn nên tiếp điểm của Phao có độ bền cao và rất an toàn cho người sử dụng, không lo hơi nước từ trong bồn nước bốc hơi ra làm hỏng tiếp điểm hoặc khi trời mưa nước thâm vào và làm hư hỏng bất thường như các loại phao thông thường.
2. THÔNG SỐ KỸ THUẬT
Điện áp định mức: DC-AC. (Có thể dùng cho khởi động từ 380VAC)
Dòng điện tối đa: 16 (4) A.
Công suất max: 750W.
Tần số: 50 ~ 60Hz.
Nhiệt độ hoạt động tối đa: <80°C.
Lớp bảo vệ: Ip68.
Trong phòng thí nghiêm, phao điện Siron Sr-FSW có thể hoạt động liên tục và tốt với công suất lên tới 1893W (>2HP), tuy nhiên xét về yếu tố an toàn, Siron khuyên khách hàng nên chỉ cho phao hoạt động ở công suất tối đa là 750W (1HP).
3. LẮP ĐẶT
Dùng tua vít 4 cạnh nới vít nhựa ra (Hình vẽ 1). Sau đó luồn sợi cáp qua lỗ trên quả cân tại vị trí thích hợp muốn cân chỉnh mực nước. Sau đó vặn vít nhựa lực vừa phải để siết cố định quả cân trên sợi dây (Hình vẽ 2).
![]() |
![]() |
| (Hình 1) | (Hình 2) |
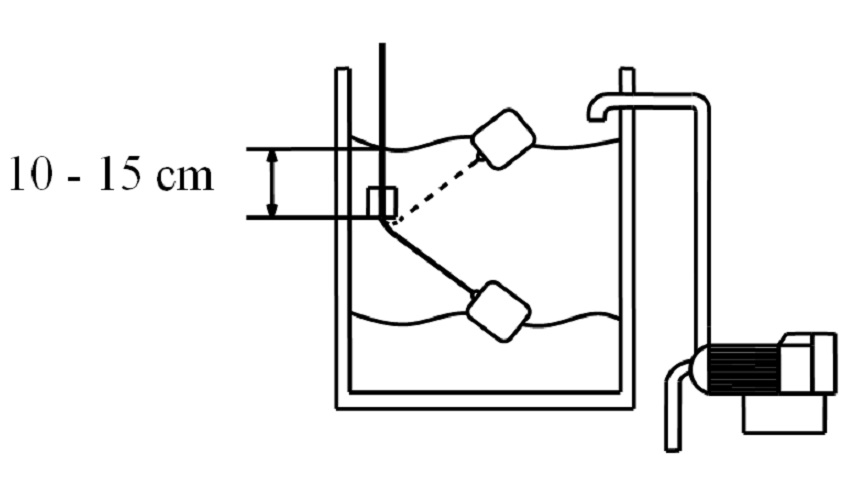
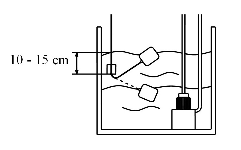
Thả phao vào bể chứa nước (quả cân cách mặt nước cần điều chỉnh khoảng 10 – 15 cm). Thông thường quả cân đặt ở vị trí bằng 1/3 khoảng cách từ mặt nước đầy đến đáy bồn sao cho độ nghiêng của quả phao so với chiều thẳng đứng của dây cáp là 45 độ để công tắc có thể tác động tắt / mở tiếp điểm.
Cố định phao vào thành bể nước, điểm cố định cần đảm bảo trong quá trình sử dụng phao không bị cọ sát vào chỗ sắc cạnh. (Bạn có thể lót thêm vải để dây phao được sử dụng tốt hơn).
Kết nối nguồn điện vào phao điện và máy bơm. (Bạn có thể tham khảo các ứng dụng dưới đây để biết được cách đấu nối phao điện). Lưu ý, điểm nối giữa phao điện, máy bơm và nguồn điện cần phải đảm bảo không bị ngập nước, không bị nắng mưa làm ảnh hưởng đến mối nối.
4. HƯỚNG DẪN SỬ DỤNG TỰ ĐỘNG BƠM ĐẦY HOẶC TỰ ĐỘNG HÚT CẠN
Điều khiển bơm cấp đầy: (Sử dụng dây đen và dây xanh)
- Khi nước cạn đến mức đã định bởi phao và quả cân thì bơm sẽ được tự động bật.
- Khi nước đầy đến mức đã định bởi phao và quả cân thì bơm sẽ được tự động tắt.
![]() |
![]() |
| Sơ đồ lắp đặt phao chống tràn bể nước | |
Điều khiển bơm hút cạn: (Sử dụng dây Nâu và Đen)
- Khi nước đầy đến mức đã định bởi phao và quả cân thì bơm sẽ được tự động bật.
- Khi nước đầy đến mức đã định bởi phao và quả cân thì bơm sẽ được tự động tắt.
|
|
![]() |
| Sơ đồ lắp đặt phao chống cạn bể nước | |
5. HƯỚNG DẪN SỬ DỤNG TỰ ĐỘNG BƠM ĐẦY VÀ TỰ ĐỘNG HÚT CẠN
Đấu nối sợi cáp màu đen của phao điện điều khiển nổi với kết nối của máy bơm, màu xanh đến pha Lửa cho ứng dụng bơm đầy tự động và màu nâu đến pha Lửa cho ứng dụng bơm hút cạn tự động như trong Hình 1 và 4. Để biết hướng dẫn chi tiết, tham khảo Hình 7.
Chức năng của Hình 5 và 6: Bơm điện dừng lại khi mực nước trong bể nước rơi xuống một mức độ nhất định và các ngôi sao để đổ nước một lần nữa khi mức độ ăn tăng lên.

Hình 7: Hiển thị công tắc tự động giữa điền và đổ nước, là phần mở rộng của hai chức năng cơ bản.
Vui lòng tham khảo hai chức năng cơ bản để biết chi tiết.
Ứng dụng:
- Sử dụng cho bể trung gian, bơm nước từ một nơi thấp rồi bơm lên một nơi cao hơn mà không thể bơm trực tiếp một điểm.
- Sử dụng cho máy bơm cấp nước và máy bơm tăng áp. Khi hết nước, máy bơm tăng áp sẽ bị tắt đi và máy bơm cấp nước sẽ được bật lên và ngược lại. Tuy nhiên ứng dụng này có nhược điểm là khi máy bơm cấp nước hoạt động thì máy bơm tăng áp sẽ bị tắt đi, khi người sử dụng sẽ không thể có nước áp suất cao được. Do sử dụng chung một phao điện nên điều chỉnh mực nước phù hợp cho mỗi máy bơm sẽ khó khăn hơn.
- Sử dụng cho ứng dụng khi máy bơm hoạt động sẽ tắt một số thiết bị nào đó hoặc khi máy bơm không hoạt động sẽ bật đèn hoặc bật tắt van điện từ cho những ứng dụng đặc biệt khác.
6. MINH HỌA CHO CÀI ĐẶT THEO THỨ TỰ
Hình 8: Lột vỏ nhựa ra khỏi đối trọng trước khi lắp đặt và đặt xung quanh cáp, sau đó lắp cáp từ phần conic vào đối trọng và cố định nó với áp suất vừa phải tại vị trí cố định và.
7. CẢNH BÁO
Cáp cung cấp điện là một phần tích hợp của thiết bị. Nếu cáp được tìm thấy bị hư hỏng, thiết bị sẽ được thay thế. Không thể sửa chữa cáp.
Đầu cáp phải không bao giờ ngâm vào nước.
Đầu cáp không được sử dụng phải được cách điện một cách chính xác.
Bơm điện phải được nối đất để tránh tai nạn.
Nếu Bơm Nước có công suất hơn 1HP (750W) thì cần lắp thêm Khởi Động Từ phù hợp với công suất Bơm để bảo vệ tiếp điểm trong Phao. Các trường hợp sử dụng quá công suất gây cháy tiếp điểm sẽ không được bảo hành theo quy định của nhà sản xuất.
8. BÁO CÁO BẢO HÀNH
Đối với bất kỳ khiếm khuyết nào do sản xuất gây ra, người dùng có thể trả lại thiết bị cho nhà sản xuất để sửa chữa hoặc thay thế trong vòng 18 tháng kể từ khi giao hàng. Bảo hành này không áp dụng cho bất kỳ lỗi nào do sử dụng sai mục đích và lưu trữ không đúng cách.
9. MỘT SỐ ỨNG DỤNG KHÁC
- Hướng dẫn cách đấu và lắp đặt phao điện cho chức năng chống tràn (Bể chứa trên).
- Hướng dẫn cách đấu và lắp đặt phao điện cho chức năng chống cạn (Bể ngầm).
- Hướng dẫn cách đấu và lắp đặt phao điện cho máy bơm nước có công suất lớn hơn 750W.
- Hướng dẫn cách đấu và lắp đặt phao điện cho máy bơm nước 3 pha.
- Hướng dẫn cách đấu và lắp đặt phao điện cho máy bơm sử dụng nguồn điều khiển 12V hoặc 24V.
- Hướng dẫn cách đấu và lắp đặt chuông điện báo nước đầy, nước cạn.
- Sơ đồ lắp 3 phao điện kín nước 1 bể nước điều khiển 2 máy bơm tự động.















